发布时间:2026-01-13 13:56:11作 者:大汉机械浏览次数:次
陶瓷原料链斗式提升机是主要输送陶瓷原料的一台机械设备。陶瓷原料是指所有可用于制备陶瓷制品的天然矿物原料及人工合成的化工原料。从原料仓库到配料车间,从破碎工序到粉磨工段,大量粉状、颗粒状及小块状的陶瓷原料需要输送至不同的点位。而在这中间链斗式提升机是扮演一个重要角色,它可以垂直或者大倾角的将物料从低处向高处连续输送。提升高度可达数十米,输送能力根据型号不同,每小时可从数立方米到上百立方米,符合陶瓷生产线对大批量、连续性原料输送的需求。

核心优势
链式提升机在不同的应用中展现不同的优势。
提升高度大、输送能力强。坚固的链条牵引使其能够实现较高的垂直提升(通常≤40米,特殊设计可达更高),且料斗密集布置,单位时间内输送量大。
适用范围广,论是密度较大的硅砂,还是略带粘性的粘土粉,或是颗粒状釉料,链斗式提升机都能有效输送。
结构坚固耐用,采用金属链条和钢制料斗,耐磨性好,寿命长,能承受陶瓷原料中可能含有的磨蚀性成分带来的磨损。

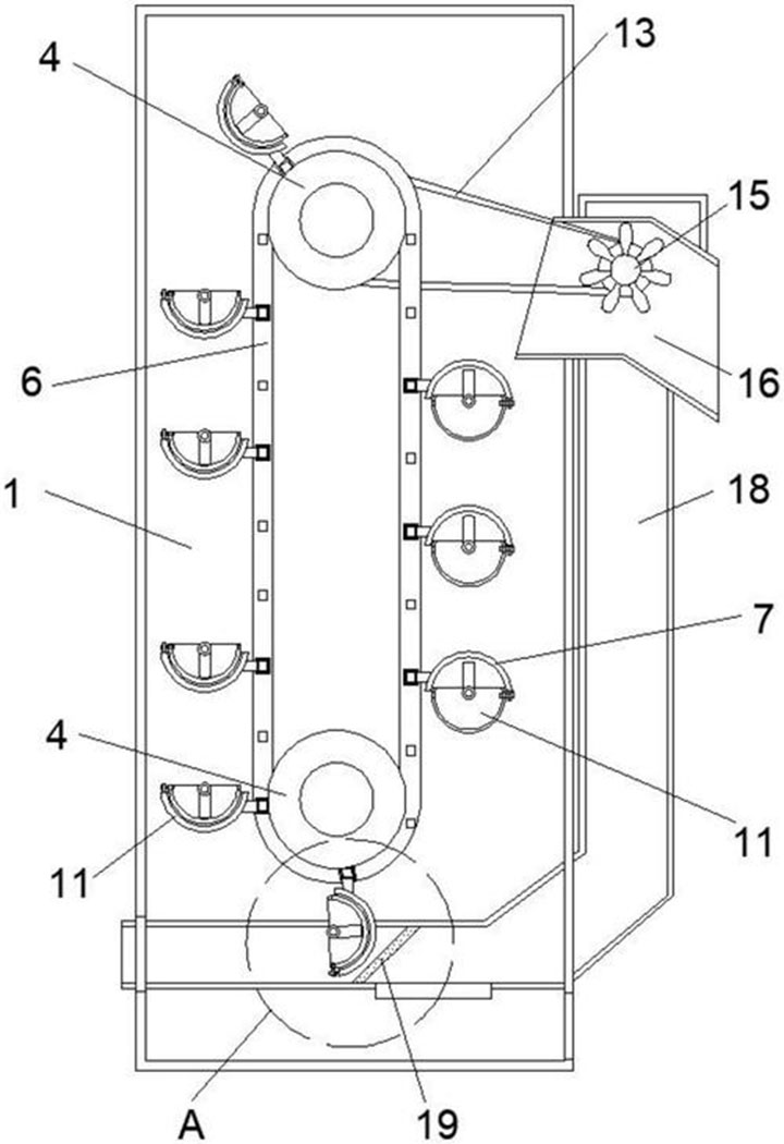
原理
链斗式提升机启动后电机驱动头部头轮旋转,带动无极牵引链条循环运转。固定于链条的料斗行至底部时,运行方向转为向上,将进料口原料“掏取”入斗。料斗满载物料被平稳提升至头部,绕过头轮时方向改变,物料主要依靠自身重力从斗中卸出,经卸料口排入指定设备。空料斗随后沿下行分支返回底部,重新开始掏料,形成连续工作循环。

结构组成
链斗式提升机主要由牵引构件、料斗、驱动装置、头轮、尾轮、机壳与张紧装置组成。
牵引构件与料斗:牵引构件通常采用高强度、高耐磨性的圆环链或板链,负责传递动力并承载料斗和物料的总重量。料斗则用钢板冲压或焊接而成。
驱动装置:包括电机、减速器、逆止器或制动器。
头轮与尾轮:头轮与尾轮是牵引链条的支撑与导向轮。
机壳:通常由头部机壳、中间段机壳和尾部机壳三大部分用钢板焊接而成,形成连续的封闭空间。
张紧装置:通常位于尾部,通过螺杆、弹簧或重锤等机构调整尾轮轴的位置,从而自动或手动调节链条的松紧度

应用
陶瓷原料链斗式提升机除了输送陶瓷原料外还可以广泛用在其他方面。在建材与水泥行业,可以垂直提升水泥生料、熟料、矿渣、粉煤灰、石灰石粉、石膏等。在冶金与矿山行业,可用来提升矿石、矿粉、烧结矿、球团矿等物料。在化工与化肥行业还可以用来提升塑料颗粒、尿素、复合肥、纯碱、磷酸盐等。在其他方面也能用来输送提升玉米、小麦等原粮至清理塔或仓储;提升颗粒饲料至成品仓。还能提升生活垃圾焚烧后的炉渣、生物质颗粒燃料、废旧塑料碎片等。

对于陶瓷原料链斗式提升机,每个厂家可能都会有做,但是我们厂家所做的设备以质量为核心,质量贯穿于制造与测试的全流程:从钢材入库检验到焊接无损探伤,从空载与负载的逐级调试到关键轴承位的温升监控,每台设备都需通过严于行业标准的出厂测试。
